1、J941H智能一体化电动法兰式截止阀技术规范产品概述 “IQM/lQMD"系列电动执行器用于控制0°~270°旋转的阀门及其他同类产品,如蝶阀、球阀、风门、挡板阀、旋塞阀、百叶阀等,可以广泛应用于石油、化工、水处理、船舶、造纸、电站、供暖供热、楼宇自控、轻工等各行业中。它以380V/220V/110V交流电源为驱动电源,以4-20mA电流信号或0-10VDC电压信号为控制信号,可使阀门运动到所需位置,实现其自动化控制,输出扭矩达2000N·M。(该产品已获得防爆认证证书,产品质量具有保障)J941H电动截止阀由电动执行机构和截止阀两部分组成。启闭件是塞形的阀瓣,密封面呈平面或锥面,阀瓣沿流体的中心线作直线运动。阀杆的运动形式,有升降杆式(阀杆升降,手轮不升降),也有升降旋转杆式(手轮与阀杆一起旋转升降,螺母设在阀体上)。能适用于各种压力、温度及介质工况。阀在管路中主要用来做切断、分配和改变介质的流动方向,一般不做调节使用,因为调节时不平衡力太大,对阀芯的冲蚀比较厉害。
本文将对J941H-25电动截止阀进行深入解析,同时探讨其相关内容,以期为读者提供更丰富的信息。 
1.设计特点J941H-25电动截止阀采用的电动执行机构,能够实现自动控制和远程操作,提高了工作效率和便利性。 其紧凑的结构设计使其在安装和维护方面更为方便。 同时,该阀门具有快速开关和紧密密封的特点,确保了流体的正常流动和阀门的可靠性。 2.工作原理J941H-25电动截止阀采用电动执行器与阀体相连,通过信号控制执行器的运动,实现阀门的开关操作。 当信号输入时,执行器会转动阀杆,使阀门打开或关闭。 通过这种方式,可以实现对流体管道的控制和调节。 3.应用领域J941H-25电动截止阀广泛应用于工业管道系统中,特别是涉及流体控制和流量调节的场合。 例如,在化工、冶金、电力等行业中,该阀门可用于控制流体的流入和流出的方向,实现流体的控制和调节。 此外,该阀门还可用于给排水系统、造纸工业、供暖设备等领域。 4.产品优势J941H-25电动截止阀具有以下几个优势: -高度自动化: 采用电动执行器,可以实现远程操作和自动控制,减少了人为操作的需求。 -准确稳定: 该阀门通过电动执行器的精准控制,可以实现准确的流量调节和流体控制。 -节能环保: 使用电动执行器代替传统的手动操作,减少了能源的浪费,提高了能源利用效率。 -可靠性强: J941H-25电动截止阀采用高品质材料制造,具有耐腐蚀、耐高温、耐压等特点,确保阀门的使用寿命和稳定性。 总结: J941H-25电动截止阀作为一种的阀门设备,具有广泛的应用领域和多种优势。 它的设计特点、工作原理以及应用范围都使其成为管道系统中的一部分。 希望通过本文的解析,读者对J941H-25电动截止阀有更深入的了解,并且对其在实际应用中的优势有更清晰的认识。 J941H智能一体化电动法兰式截止阀技术规范产品特点
1、结构简单,制造和维修比较方便。 2、阀杆经调质及表面氮化处理,有良好的抗腐蚀性和抗擦伤性。 3、适合作为自动化切断介质使用。 4、密封性好,密封面间磨擦力小,寿命较长。 5、阀杆开启或关闭行程相对较短,并具有非常可靠的切断动作。 6、阀座和阀瓣比较容易修理或更换密封元件时无需把整个阀门从管线上拆下来。 7、倒密封采用螺纹连接密封座或本体堆焊奥氏体不锈钢而成,密封可靠,更换填料可在不停机情况下进行,方便快捷,不影响系统运行。 8、电动执行器方便操作。 
2、J941H智能一体化电动法兰式截止阀技术规范性能特点 2.1 壳体 壳体为硬质铝合金,经阳极氧化处理和聚酯粉末涂层,耐腐蚀性强,防护等级为IP67,NEMA4和6,并有IP68和防爆型供选择。 2.2 电机 全封闭式鼠笼式电机,体积小、扭矩大、惯性力小,绝缘等级为F级,内置过热保护开关,可防止过热损坏电机。 2.3 手动结构 手轮的设计保证安全可靠、省力、体积小。不通电时,扳动离合器手柄可进行手动操作。通电时,离合器自动复位(注:在电机不通电的状况下,电动执行器将保持手动状态) 2.4 指示器 指示器安装在中心轴上,可以观察阀门位置。镜面采用凸透镜设计,不积水,观察更方便。 2.5 干燥器 用来控制温度,防止由于温度和天气变化导致执行器内部水分凝结,保持内部电气元件的干燥。 2.6 限位开关 机械,电子双重限位。机械限位螺钉可调,安全可靠;电子限位开关由凸轮机构来控制,简单的调整机构能精确并方便地设定位置,无需电池支持。(微动开关接点均为银质触点) 2.7 扭矩开关 可提供过载保护(IQM/lQMD-005/008/010除外),在阀门卡涩,有异物时,自动断开电机电源,更有效的保护阀门和电动执行器不受损坏。(出厂前已设定好,请用户不要随意更改设置) 2.8 自锁 精密的双蜗轮蜗杆机构可高效传输大扭矩,效率高,噪音低(50分贝),寿命长有自锁功能,防止反转,传动部分稳定可靠,出厂已经加满意高效润滑脂,使用无需再加油。 2.9 防脱螺栓 拆除外壳时,螺栓附在壳体上,不会脱落。外部螺栓均采用不锈钢材质。 2.10 安装 底部安装尺寸符合ISO5211国际标准,驱动轴套可拆下根据需要进行加工,适应性强。可以垂直安装,也可以水平安装。 2.11 线路 控制线路符合单相或三相电源标准,线路布置紧凑合理,接线端子可有效满足各种附加功能的要求,阀开关到位均有无源接点输出(可根据客户要求另行加工。) 2.12 智能模块 采用集成度高,功耗很低的单片机与模拟电路混合的控制板,更采用全金属外挂式安装,使执行器电机热源与控制板有效隔离,很大程度地提高了软件及硬件的抗干扰性能及耐温性。 2.13 阀位数字显示 执行器在打开或关闭过程中,阀位的变化在液晶屏上以大数字方式实时显示。 2.14 相序自动调整 智能型执行器自动检测接入的三相电源相序,无需用户考虑三相电源的相序问题。 J941H智能一体化电动法兰式截止阀技术规范 
电动阀门的安装和维护需要注意诸多细节,以确保其正常运行和延长使用寿命,以下是具体内容:
一、安装注意事项 安装位置选择 1、应选择便于操作、检修和观察的位置,周围应留有足够的空间,一般阀门周围需预留至少 0.5 米的空间,方便人员进行操作和维护。 2、避免安装在振动大、高温、潮湿或有腐蚀性气体的环境中,若无法避免,需采取相应的防护措施,如增加减振装置、隔热罩、防潮箱等。 3、对于水平管道,电动阀门宜安装在水平管道上,阀杆应垂直向上,特殊情况需要倾斜安装时,倾斜角度不宜超过 30°,以保证电动执行机构的正常工作。 管道连接要求 1、连接前,要确保管道内部清洁,无杂物、焊渣等,可采用压缩空气吹扫或水冲洗等方式进行清理。 2、电动阀门与管道的连接应保证同轴度,偏差不应超过规定值,一般要求同轴度偏差不大于 2mm,以防止产生额外的应力,影响阀门的密封性能和使用寿命。 3、采用法兰连接时,要确保法兰面平整、无变形,螺栓应均匀拧紧,螺栓拧紧后应露出螺母 2-3 扣,且各螺栓的拧紧力要均匀一致。 电气连接要点 1、严格按照电动阀门的接线图进行接线,确保接线正确无误,接线端子应连接牢固,防止松动。 2、接入的电源应符合电动阀门的额定电压、频率等要求,电压波动范围一般不应超过额定电压的 ±10%。 3、必须做好接地保护,接地电阻应不大于 4Ω,以保障人员和设备安全。 安装调试步骤 1、安装完成后,行手动操作试验,检查阀门的开闭动作是否灵活,有无卡涩、阻滞等现象。 2、再进行电动调试,检查电动执行机构的开阀、关阀动作是否正常,阀门的开度指示与实际开度是否一致,限位开关和过力矩保护功能是否可靠等。 3、调试过程中,若发现问题应及时排查和解决,严禁带故障投入运行。 二、维护注意事项 日常维护要点 1、定期检查阀门的外观,包括阀体、阀杆、电动执行机构等,查看是否有腐蚀、磨损、渗漏等现象,如有应及时处理。 2、检查阀门的运行状态,如开闭动作是否正常,有无异常声音和振动,发现问题应及时停机检查。 3、保持电动阀门的清洁,定期清理阀门表面的灰尘、油污等杂物,防止其进入阀门内部,影响阀门的正常工作。 定期保养项目 1、定期对电动执行机构的电机、齿轮箱等部件进行润滑,一般每运行 3-6 个月应添加或更换一次润滑脂,以降低摩擦,保证其运转灵活。 2、检查阀门的密封性能,可通过打压试验等方式进行检测,如发现密封性能下降,应及时更换密封件。 3、对电动阀门的电气系统进行检查,包括接线端子、接触器、继电器等,查看是否有松动、烧蚀等现象,如有应及时修复或更换。 故障排查方法 1、当电动阀门出现故障时,首先判断是电气故障还是机械故障。可通过检查电源、电机、控制电路等方面来排查电气故障;通过检查阀门的开闭动作、况、密封性能等方面来排查机械故障。 2、对于常见故障,如阀门打不开或关不上,可能是电源故障、电机故障、限位开关故障或阀门内部卡涩等原因引起,应逐步排查,找出故障原因并进行修复。 3、若遇到复杂故障或无法确定故障原因时,应及时联系专业维修人员进行检修,严禁盲目拆卸和维修,以免造成更大的损失。

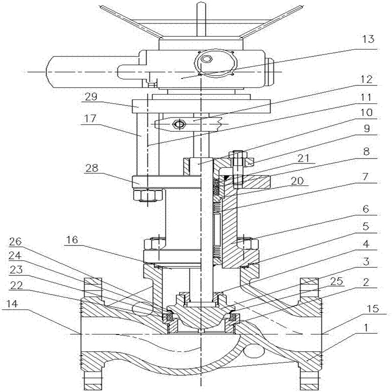
4、J941H智能一体化电动法兰式截止阀技术规范结构 电动执行器主要由以下几部分组成: ◎壳体部分:包括外壳及底座部分; ◎驱动部分:以高性能全封闭鼠笼式电机为动力源; ◎传动机构:双蜗轮与离合器部分 ◎比例控制部分:与机械部分分离,提高可靠性; ◎力矩开关与限位开关部分; ◎开度检测与反馈部分。
5、J941H智能一体化电动法兰式截止阀技术规范外观图

J941H智能一体化电动法兰式截止阀技术规范应用规范| 设计与制造 | GB/T12235 | | 连接端尺寸 | 结构长度 | GB/T12221 | | 法兰尺寸 | JB/T79 | | 检验与试验 | JB/T9092 | | 材 料 | 碳钢 | GB/T12229 | | 不锈钢 | GB/T12230 | | 合金钢 | Q/ZB66 | | 标 志 | GB/T12220 | | 供 货 | JB/T7928 |
主要零件材料及主要用途| 阀体 | 阀盖 | 阀瓣 | 密封圈 | 阀杆 | 填料 | 适用介质 | 适用温度 (≤℃) | | WCB | WCB+D507MO | D577 | 2Crl3 | 柔性石墨 | 水、油品、蒸汽 | 425 | | ZGlCrl8Ni9Ti | 0Crl8Ni9Ti+ Stellite12 | Stellite6 | lCrl8Ni9Ti | PTFE | 硝酸类 | 200 | | ZGlCrl8Ni2Mo2Ti | CF8M+ Stellite12 | lCrl8Ni2Mo2Ti | lCrl8Ni2Mo2Ti | PTFE | 磷酸类、 碱类、混酸 | 200 | | ZG00Crl7Nil4M02 | CF3M+ Stellite12 | Stel1ite6 | 316L | PTFE | 磷酸类、 尿素、甲铵液 | 200 | | ZGlCr5MO | ZGlCr5MO+ Stellite12 | Stel1ite6 | 25Cr2Mo1VA | 柔性石墨 | 水、油品、蒸汽 | 550 |
外形结构图
J941H智能一体化电动法兰式截止阀技术规范主要外形尺寸| 公称压力 PN(MPa) | 公称通径 DN(mm) | 标准值 | 参考值 | | L | D | D1 | n2 | D6 | b | f | f1 | Z-φd | L1 | H | 质量(kg) | | 1.6 | 50 | 230 | 160 | 125 | 100 |
| 16 | 3 |
| 4-φ18 | 590 | 645 | 48 | | 65 | 290 | 180 | 145 | 120 |
| 18 | 3 |
| 4-φ18 | 590 | 690 | 60 | | 80 | 310 | 195 | 160 | 135 |
| 20 | 3 |
| 8-φ18 | 590 | 715 | 65 | | 100 | 350 | 215 | 180 | 155 |
| 20 | 3 |
| 8-φ18 | 590 | 770 | 71 | | 125 | 400 | 254 | 210 | 185 |
| 22 | 3 |
| 8-φ18 | 590 | 780 | 119 | | 150 | 480 | 280 | 240 | 210 |
| 24 | 3 |
| 8-φ23 | 590 | 810 | 210 | | 200 | 600 | 335 | 295 | 265 |
| 26 | 3 |
| 12-φ23 | 810 | 967 | 320 | | 250 | 622 | 405 | 355 | 320 |
| 30 | 3 |
| 12-φ25 | 810 | 1143 | 550 | | 300 | 698 | 460 | 410 | 375 |
| 30 | 4 |
| 12-φ25 | 830 | 1292 | 785 | | 2.5 | 50 | 230 | 160 | 125 | 100 |
| 20 | 3 |
| 4-φ18 | 590 | 645 | 50 | | 65 | 290 | 180 | 145 | 120 |
| 22 | 3 |
| 8-φ18 | 590 | 690 | 65 | | 80 | 310 | 195 | 160 | 135 |
| 22 | 3 |
| 8-φ18 | 590 | 715 | 67 | | 100 | 350 | 230 | 190 | 160 |
| 24 | 3 |
| 8-φ23 | 590 | 770 | 73 | | 125 | 400 | 270 | 220 | 188 |
| 28 | 3 |
| 8-φ25 | 590 | 780 | 127 | | 150 | 480 | 300 | 250 | 218 |
| 30 | 3 |
| 8-φ25 | 810 | 810 | 215 | | 200 | 600 | 360 | 310 | 278 |
| 34 | 3 |
| 12-φ25 | 810 | 967 | 322 | | 250 | 622 | 425 | 370 | 332 |
| 36 | 3 |
| 12-φ30 | 830 | 1143 | 585 | | 300 | 698 | 485 | 430 | 390 |
| 40 | 4 |
| 16-φ30 | 830 | 1292 | 795 | | 4.0 | 50 | 230 | 160 | 125 | 100 | 88 | 20 | 3 | 4 | 4-φ18 | 590 | 645 | 61 | | 65 | 290 | 180 | 145 | 120 | 110 | 22 | 3 | 4 | 8-φ18 | 590 | 690 | 75 | | 80 | 310 | 195 | 160 | 135 | 121 | 22 | 3 | 4 | 8-φ18 | 590 | 715 | 84 | | 100 | 350 | 230 | 190 | 160 | 150 | 24 | 3 | 4.5 | 8-φ23 | 590 | 770 | 101 | | 125 | 400 | 270 | 220 | 188 | 176 | 28 | 3 | 4.5 | 8-φ25 | 810 | 782 | 207 | | 150 | 480 | 300 | 250 | 218 | 204 | 30 | 3 | 4.5 | 8-φ25 | 810 | 875 | 226 | | 200 | 600 | 375 | 320 | 282 | 260 | 38 | 3 | 4.5 | 12-φ30 | 810 | 1160 | 399 | | 6.4 | 50 | 300 | 175 | 135 | 105 | 88 | 26 | 3 | 4 | 4-φ23 | 590 | 710 | 64 | | 65 | 340 | 200 | 160 | 130 | 110 | 28 | 3 | 4 | 8-φ23 | 590 | 750 | 77 | | 80 | 380 | 210 | 170 | 140 | 121 | 30 | 3 | 4 | 8-φ23 | 590 | 785 | 86 | | 100 | 430 | 250 | 200 | 168 | 150 | 32 | 3 | 4.5 | 8-φ25 | 810 | 837 | 171 | | 125 | 500 | 295 | 240 | 202 | 176 | 36 | 3 | 4.5 | 8-φ30 | 810 | 1031 | 243 | | 150 | 550 | 340 | 280 | 240 | 204 | 38 | 3 | 4.5 | 8-φ34 | 830 | 1066 | 296 | | 200 | 650 | 405 | 345 | 300 | 260 | 44 | 3 | 4.5 | 12-φ34 | 830 | 1213 | 420 | | 10.0 | 50 | 300 | 195 | 145 | 112 | 88 | 28 | 3 | 4 | 4-φ25 | 590 | 714 | 81 | | 65 | 340 | 220 | 170 | 138 | 110 | 32 | 3 | 4 | 8-φ25 | 590 | 734 | 102 | | 80 | 380 | 230 | 180 | 148 | 121 | 34 | 3 | 4 | 8-φ30 | 810 | 847 | 175 | | 100 | 430 | 265 | 210 | 172 | 150 | 38 | 3 | 4.5 | 8-φ30 | 810 | 950 | 194 | | 125 | 500 | 310 | 250 | 210 | 176 | 42 | 3 | 4.5 | 8-φ34 | 830 | 1141 | 285 | | 150 | 550 | 350 | 290 | 250 | 204 | 46 | 3 | 4.5 | 12-φ34 | 830 | 1240 | 450 | | 200 | 650 | 430 | 360 | 312 | 260 | 54 | 3 | 4.5 | 12-φ4l | 830 | 1425 | 850 | | 16.0 | 50 | 300 | 215 | 165 | 132 | 88 | 36 | 3 | 4 | 8-φ25 | 590 | 562 | 92 | | 65 | 340 | 245 | 190 | 152 | 110 | 44 | 3 | 4 | 8-φ30 | 810 | 743 | 165 | | 80 | 380 | 260 | 205 | 168 | 121 | 46 | 3 | 4 | 8-φ30 | 830 | 820 | 216 | | 100 | 430 | 300 | 240 | 200 | 150 | 48 | 3 | 4.5 | 8-φ34 | 830 | 935 | 238 |
6J941H智能一体化电动法兰式截止阀技术规范执行器安装

6.1 安装现场 6.1.1 室内安装注意事项 安装在有爆炸性气体的地方,需订购防爆型执行器; 安装在有水淹没及户外请提前说明; 请预留接线、手动操作维修用空间; 6.1.2 室外安装的注意事项 为了避开雨水、阳光直射等问题,需要安装保护盖;或选用防护等级IP67以上; 请预留接线、手动操作等维修用空间; 6.1.3 环境温度 环境温度在-20℃~+70℃范围内; 环境温度为0℃以下时,在机内加装除湿加热器; 6.1.4 流体温度条件与阀门配套使用时,流体的热量会传到机体上,机体温度会升高;流体处于高温状态时,与阀门连接的支架要特别处理。 标准支架:流体温度+65℃以下的支架或免支架; 中温支架:流体温度+100℃以上,+180℃以下的支架; 高温支架:流体温度+180℃以上的支架 6.2 与阀门的连接 6.2.1 执行器底部法兰安装孔尺寸符合ISO5211标准。如阀门安装尺寸与其不符,则另行设计支架或转接板即可。 6.2.2 执行器与阀门通过其主轴上可拆卸驱动轴套连接,驱动轴套出厂前为实心件,先用扳手逆时针方向出两枚紧固螺钉,然后用两枚顶出螺钉顶出动轴套。 注:用户可根据驱动轴套功能要求另行设计制造,其形状可设计为圆轴、方轴或其它形式的成形轴输出。(加工必须保证孔与外圆的同心) 6.2.3 安装前,必须注意执行器的开、关方向应与阀门的开、关方向相对应。 6.2.4 将支架固定在阀门上。 6.2.5 将电动执行器转到关闭位置,用连轴器和螺钉将阀门芯轴和电动执行器输出轴固定。 6.2.6 将电动执行器放在支架上,拧上电动执行器和支架间的螺钉。 6.2.7 手动转动阀门,确认无异常情况,并转到全闭位置。 6.2.8 用手轮转动电动执行器时,确认无偏心,弯斜、运动平衡,注意不要超程! 注意事项:连轴器尽量减小回差。 6.3电源配线(图7、图8) 6.3.1 卸下铝制金属堵头,供外部电缆接入,请使用外螺纹为3/4″的防爆接头或防爆电缆软管。 6.3.2 如果电缆接头与执行器不符合,可能造成机内密封等级下降而达不到防护要求,或执行器内部进水而损坏机器。 6.3.3 使用电线管时,要充分采取防水措施。 6.3.4 拆开机壳外罩。用螺丝刀轻轻按下接线端子上的小孔内金属弹片,同时导线插入侧面插线孔。松开螺丝刀即可。 
7、J941H智能一体化电动法兰式截止阀技术规范调试说明 7.1 机械限位调整(图9、图10) 松开机械限位螺钉及锁紧螺母,边转动手轮旋转一圈,边向左扳动一下离合器手柄,使离合器啮合后,继续旋转手轮,然后手动使执行器运动到全关的位置,旋转限位螺母,当其碰到里面扇形齿轮后停止转动,再旋出两圈,最后上紧锁紧螺母。这样就设定好了执行器全关时的机械限位的位置。全开时的位置可同样设定。如图9、图10所示。 7.2 行程限位调整(图11) 手动使阀关到位松开关方向限位凸轮,将其调整到恰到好压下关限位开关的位置,再将限位凸轮固紧。这样就设定好了执行器全关时电器限位的位置,全开时的位置同样可设定。 7.3 电位器整(图12) 执行器中作为一种反馈信号输出,有三个输出 端子,其中②脚接电位器的滑臂(参照图12)。① 脚接执行器开动作时,与滑臂之间的电阻不断减小 一端,③脚则接执行器关闭动作时与滑臂之间的电 阻不断减小一端(注意:电位器不应出现阻值过零, 跳变现象)。用手轮转动阀门到全开位置,以开到限 位开关动作为准用万用表测量,将接线端子上②脚 ①脚电阻调整到35-60之间。若不正确可通过转动 电位器传动齿轮调整。 7.4 过载保护装置调整(图13) 阀门在正常工作压力条件下,调整开关撞板使之与相对应过载开关滚轮刚好接触为好。当开起或关闭阀门所需扭矩大于额定扭矩时,凸轮轴会顺时针或逆时针旋转,带动其上的过载撞块驱使过载开关动作。 注:过载保护装置出厂已调好,原则上是勿需再调整;如需调整,阀门需在正常工作压力条件下进行调整。 
8、J941H智能一体化电动法兰式截止阀技术规范试运转 8.1 手动操作 进行手动操作时,必须先把电源切断;边转动手轮旋转一圈,边向左扳动一下离合器手柄,使之离合器啮合后,继续旋转手轮使开度减少(可通过视窗观察) 注意:开度计到全开、全闭位置时极限开关产生动作再转动半圈,会碰到机械档块上,过分转分,会导致其它零件的损坏,因此要避免用力过大。 8.2 电动操作 ·电动操作之前,先用手动操作的方法,检查开度计和阀门角度(全开、全闭)是否一致; ·检查接线是否正确,同时必须先用外部切换开关,确认开闭动作; ·确认以上状态之后,开始电动操作。 ◆注意: ①检查接线图、电源、输入/输出信号是否正确。 ②尽量不要改变内部接线。
AC380V开关型需注意 ·手动使执行器处理半开/关位,通电并输入开信号。 ·如果执行器向开位运行,则说明接线正确。 ·如果运动方向相反,则必须交换3根电源线中的两根。 注:其他不详或特殊规格,请与本公司技术部联系 。 9、J941H智能一体化电动法兰式截止阀技术规范接线图

智能型模块调试说明 ●在现场状态,按切换(设置)键可在现场和远程之间切换。 ●在远程状态,模块接受远程控制信号控制,在远程控制信号执行过程 中,远控优先现场控制无效。 ●故障状态指示 执行器安装 安装现场 ■室内安装注意事项 ♦安装在有爆炸性气体的地方,需订购防爆型执行器; ♦安装在有雨水淹没及户外请提前说明; ♦请预留接线,手动操作维修用空间; ■室外安装注意事项 ♦为了避开雨水、阳光直射等问题、需要安装保护盖;或选用防护等级IP67以上; ♦请预留接线、手动操作等维修用空间; ■环境温度 ♦环境温度在-2(TC〜+70aC的范围内; ♦环境温度为OaC以下时,在机内加装除湿器; ■流体温度调节 与阀门配套使用时,流体的热量会传到机体上,机体的温度会升髙;流体处于高温状态 时,与阀门连接的支架要特别处理; ♦标准支架:流体温度65°C以下的支架或免支架 ♦中温支架:流体温度100°C以上,180°C以下的支架 ♦高温支架:流体温度180°C以上的支架 
J941H智能一体化电动法兰式截止阀技术规范与阀门的连接 阀杆接头(图所示) ■齿型阀杆接头 ♦取下阀杆接头,使用“L"扳手,将阀杆接头取下。 ♦加工阀杆接头,按阀杆的轴径、键的尺寸、加工阀杆接头的孔和键槽。 ♦将加工好的阀杆接头按阀杆键槽方向放至输出轴内,如不合适可沿圆周转动1齿进行角度微调。 ■圆柱销阀杆接头 ♦使用“L"扳手,拧下接头上2个固定螺钉,同时拧入旁边的螺纹孔,将阀杆接头取下。 ♦加工阀杆接头,按阀杆的轴径、键的尺寸、加工阀杆接头的孔和键槽,键槽方向和位置应和阀杆位置对应。 ♦将阀杆接头按阀杆键槽方向放至输出轴内,拧紧2个固定螺钉。 阀门的连接法兰 阀门的连接法兰安装孔尺寸符合IS05211标准,可保证电装与阀门阀杆接头正确连接,如阀门安装尺寸与其不符,则另行配置支架或转接板。 电动前的事项 电装运行时,必须确认电机的转动方向是否正确,若不正确可能对电装造成损坏(即必须 保证电机电源相序的正确)。先转动手轮,手动将阀门运行至45角度位置,然后进行开或关的操 作,以检查阀门电动时的运行方向是否正确。 ♦输出轴顺时针转动(面向开度窗):阀门关闭 ♦输出轴逆时针转动(面向开度窗):阀门打开若阀门转动方向与上述正确方式相反,应立即停止操作,并应再次检查接线(需改变电机与电源相序) 调试说明 ■机械限位调整 松开机械限位螺栓上的放松螺母,将机械限位螺栓退出一段距离,边转动手轮边向左扳动一下 离合器手柄,使离合器切换到手动状态。然后手动使执行器运动到全关位置,旋进关位限位螺栓, 当其碰到里面扇形齿轮后再旋出两圈,最后锁紧防松螺母。这样就设定好了执行器全关时的机械限 位的位置,全开时的位置可同样设定。 ■行程限位的调整 手动使阀门关到位,松开关方向限位凸轮,将其调整到恰到好压下关限位开关的位置,再将限 位凸轮紧固。这样就设定好了执行器全关时电气限位的位置。全开时的电气限位同样设定。 ■电位器调整 电位器在执行器中作为电阻信号输出,有三个接线端,其中②脚接电位器滑臂。①脚接执行器 开动作时与滑臂之间的电阻不断减小一端,③脚则接执行器关闭动作时与滑臂之间的电阻不断减 小一端、(注意:电位器不应出现阻值过零或跳变现象)。用手轮转动阀门到全开位置,以开到限 位开关动作为准,用万用表测量,转动电位器传动齿轮,将接线端上②脚①脚间电阻调整到50 欧姆左右。 ■扭矩保护调整 阀门在正常工作压力条件下,调整开关撞板使之与相对应扭矩开关滚轮刚好接近的位置。当开 启或关闭阀门所需扭矩大于执行器额定扭矩时,扭矩轴会顺时针或逆时针旋转一定角度,这时扭矩 撞板便会顶到扭矩开关上,从而停止电机工作。 注:扭矩保护装置出厂已调好,原则上是不需要调整的;如需调整,阀门需要在正常工作压力条件 下进行调整。 ■指示器调整 电动装置开度指示盘与顶部刻度窗指示阀门的“开"或“关"位置,如果由于行程位置重新调整,位置指示出现偏差,可用手直接转到指针盘进行调整。 机械限位螺栓 ♦出厂时,装置上的两机械限位螺钉已调好并紧固,无特殊需要,用户不须松。 ♦如遇必须调整限位螺钉时,应首先确定该螺钉所限制的阀门位置。当箱罩开度窗向上,面对限位螺钉,右侧为关限位螺钉,左侧为开限位螺钉。 ♦当调整好阀门极限位置(或所需位置)时,先向内旋入限位螺钉至与扇形蜗轮端面相接触,而后再退回1~1.5圈(使之成为行程限位或过转矩的安全保护)。最后将限位螺钉外端的防松螺母可靠拧紧,至此限位调整完毕。 开、关运行试验 在检查开、关设置及机械限位后,对阀门进行三次开关操作(使用控制器上的开关按钮,同 时检查开/关指示灯) 转矩开关 正常情况下,不必对转矩开关重新设置或调整,因为在产品发货前已经在工厂进行了设置,以 达到电装的额定转矩。若遇必须调整转矩开关时,请与生产厂家联系。 警告:转矩开关的设置,须使用特殊的精密仪器,以保护电装及阀体,必须重新设置或调整转 矩时,若事先不与生产厂家联系,其质量将不会得到保证。 手-电动切换机构 将切换手柄向手轮方向扳动(若挂不上,可小角度转动手轮),手动位置锁定后,可转动手轮 进行开、关两方向运行。 接通电源,开启电机后自动进入电动位置(此时,切换手柄自动复原) 特别警示 为确保电动装置整机的外壳防护性能,用户在调试和维修时,必须严格按 “使用说明书"和本“特别警示"的要求进行相关操作!如因用户操作不当或未按 “使用说明书"和本“特别警示"之规定进行操作,而造成电动装置外壳防护失效, 起责任有用户负责! 电动装置在出厂前,所有与外壳防护相关的部件都经过了严格的检验而保证 是能密封的。用户因调试或维修某种需要而打开下述部位: ♦控制箱罩。 ♦接线箱罩。 ♦出线部套。 打开后,用户必须保证: ♦调试维修或进行某种需要的操作过程中,电动装置此时已不具备原有防护功能,用户应保证其不受雨冰雹潮气尘土等等不利因素的侵袭。 ♦操作完成,盖罩或拧紧出线部套时,用户应保证打开过的部位内腔中未遗留任何可能导致防护性能下降的不利因素,如水、尘土、严重的潮气等。 ♦操作完成,盖罩后,用户应保证拧紧箱罩上的所有紧固螺钉及其平垫圈和弹簧垫圈,不得有任何遗漏或松动现象,同时,用户应保证箱罩与箱体间接触部位起密封作用的橡胶密封圈未受任何损伤,并涂上钙基润滑脂后按原样安装。 ♦电缆从出线部套中传出后,用户应保证拧紧压紧螺母,以确保密封,压紧螺母与箱体间螺纹密封须有聚四氟乙烯密封带(生料带),同时,电缆与压紧螺母内子间需涂抹密封胶(如609等)。 ♦其它部位如开度窗或现场按钮等,因某种原因打开并重新安装后,用户应保证未对密封造成不利影响。 |