QZF-89全天候防爆防冻防火呼吸阀技术规范
QZF-89全天候防冻防火呼吸阀采用抽屉防火结构,便于清洗及维护,是安装在固定顶罐上的通风装置,起减少油品蒸发损耗,控制储罐压力及阻止外界火焰传入的作用。该阀具有通风量大,泄漏量小,耐腐蚀等特点,并有静电接地线,使该阀与罐体保持等电位。该阀具有防冻性能,适用于寒冷地区。
由于呼吸阀的规格繁多,如一般的呼吸阀,有闸阀、截止阀、止回阀、球阀、蝶阀、液控阀等。工业用阻燃呼吸阀包括电磁阀、调节阀、减压阀、高温高压阀、低温阀等特种阻燃呼吸阀。它们都用于国民经济的各个领域。它们的应用不同,如高温高压、低温、易燃易爆、剧毒、腐蚀性介质等工况,对阻燃呼吸阀的材料提出了严格的要求。阀坯多为薄壳铸件,结构复杂。

QZF-89全天候防爆防冻防火呼吸阀技术规范
由于大多数高强度、高硬度、高腐蚀性材料,如高合金不锈钢、耐酸钢等,其切削性能较差,具有韧性高、强度高、散热性差、切屑大等缺点。另外,阻燃呼吸阀的密封对加工精度、配合角度、精加工及配合密封要求较高,给加工带来很大困难。阻燃的主要零件数量很少,即结构相对简单,大多数尺寸的加工精度不高,外观粗糙,给人机械简单的印象。实际上,密封位置可以非常精确。“三度”(平整度、平滑度和硬度)要求密封面高。两个密封面的密封面必须满足零对零的要求,以满足密封试验的零泄漏。
呼吸阀的工作原理和弹簧限载阀板取决于正、负压或吸入压力。吸入阀应具有释放正压和负压两种功能。容器承受正压,吸入阀打开排气口释放正压。当容器承受负压时,呼吸阀打开,吸入气体释放负压。这样可以保证一定的压力范围,保证容器的安全。QHXF-89全天候防爆阻火呼吸阀是安装在固定顶罐上的通风装置,起减少油品蒸发损耗,控制储罐压力及阻止外界火焰传入的作用。全天候防爆阻火呼吸阀是安装在固定储罐顶上的通风装置。起减少油品等液体的蒸发损耗、控制储罐压力,防止罐内超压或超真空使储罐遭受损坏。该阀还能起阻止外界火焰传入的作用。适用介质为油品、石油化工物料等,亦适合于寒冷地区,该阀的操作压力在出厂前均经严格测试检验,用户不得任意调换或改变其阀盘的重量。类型有单呼型、单吸型、呼吸型,各种结构型式均可与阻火器组合构造,也可配制所需的接管。

QZF-89全天候防冻防火呼吸阀利用正负压阀盘的重量来控制储罐的排气正压和吸气负压。当罐内介质的压力在呼吸阀的控制操作压力范围之内时,呼吸阀不工作,保持油罐的密闭性;当往罐内补充介质,使罐内上部气体空间的压力升高,达到呼吸阀的操作正压时,压力阀被顶开,气体从呼吸阀呼出口逸出,使罐内压力不在继续增高;当往罐外抽出介质,使罐内上部气体空间的压力下降,达到呼吸阀的操作负压时,罐外的大气将顶开呼吸阀的负压阀盘顶开,使外界气体进入罐内,使罐内的压力不再继续下降,让罐内与罐外的气压平衡,来保护储罐的安全装置。QZF-89阻火呼吸阀是一种专为储罐设计的安全设备,用于防止外部火焰通过储罐呼吸口进入罐内,同时允许储罐在正常工作状态下自由呼吸,即吸入新鲜空气或排出内部气体,以维持罐内压力平衡。下面是QZF-89阻火呼吸阀描述:

阻火结构:QZF-89呼吸阀内置阻火网或阻火波纹片,这些组件通常由耐高温、耐腐蚀的金属材料(如不锈钢、铜合金)制成,设计有细密的孔隙,能够有效阻止外部火焰进入储罐内部,同时允许气体在安全范围内流通。
压力调节:该呼吸阀通常具备双阀盘设计,一个负责呼气(排出罐内气体),另一个负责吸气(吸入外部空气),通过弹簧的预设压力来自动调节,确保储罐内外压力差在安全范围内,避免超压或负压对储罐结构的损害。
防尘防雨帽:顶部通常配备有防尘防雨帽,可以防止雨水、灰尘等杂质进入储罐,同时不影响呼吸阀的正常工作,保持储罐内部清洁。
易维护设计:QZF-89呼吸阀设计便于检查和维护,阀盖可轻松打开,便于定期检查阻火网或波纹片的清洁程度和完好状态,及时进行清理或更换。

石油化工:广泛应用于原油、汽油、柴油、液化石油气等易燃易爆液体储罐,是防止储罐火灾和爆炸的关键设备。
化工储存:在储存有挥发性化学品的储罐上,确保储罐在储存过程中安全稳定。
燃气储运:天然气、液化天然气等气体储存和运输设施中,用于防止外部火源进入。
粮食仓储:在大型粮仓或有爆炸风险的粉尘储存场所,用于保持内部压力平衡同时防止火灾蔓延。

| 等级 | A | B | C | D |
| 呼出压力 | +355Pa(36mmH2O) | +980Pa(100mmH2O) | +1765Pa(180mmH2O) | 由用户定 |
| 吸入压力 | -295Pa(30mmH2O) | -295Pa(30mmH2O) | -392Pa(40mmH2O) |
| 代号 | 规格mm | 50 | 80 | 100 | 150 | 200 | 250 |
| 压力等级P | 通气量m3/h | ||||||
| A | +355 | 25 | 60 | 90 | 190 | 340 | 500 |
| -295 | 20 | 50 | 75 | 160 | 280 | 450 | |
| B | +980 | 30 | 70 | 100 | 200 | 380 | 600 |
| -295 | 20 | 50 | 75 | 160 | 280 | 450 | |
| C | +1765 | 40 | 95 | 140 | 280 | 500 | 800 |
| -295 | 20 | 50 | 75 | 160 | 280 | 450 | |
| 允许泄漏量m3/h | ≤0.04 | ≤0.4 | |||||

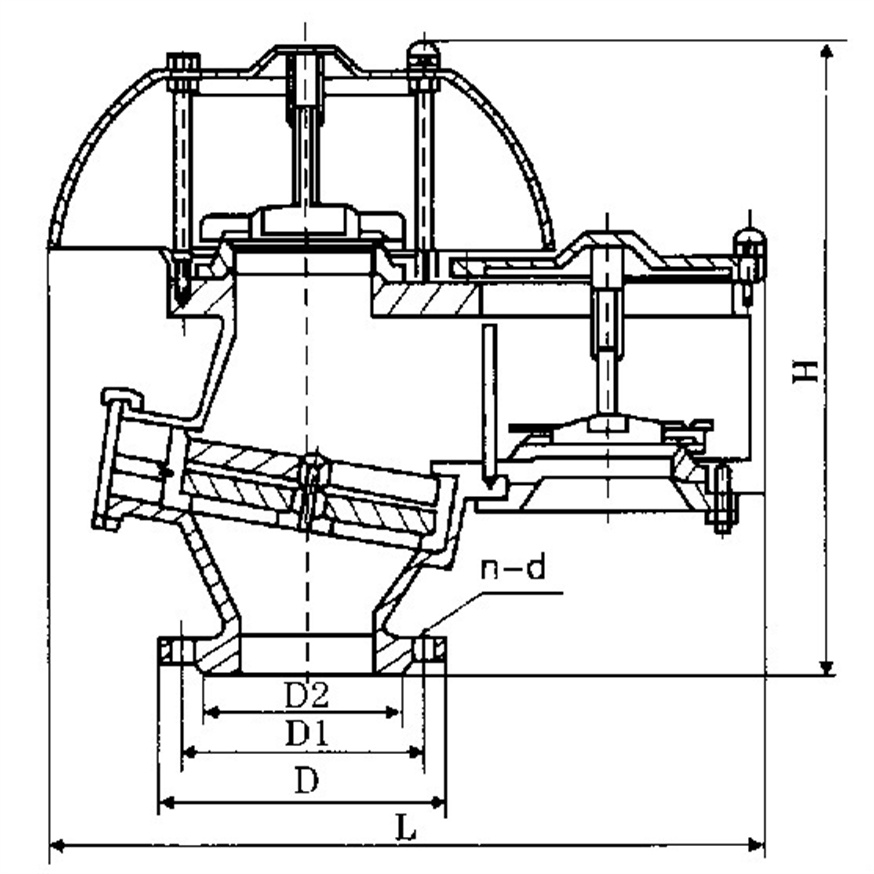
| 公称通径DN | H | L | D | D1 | D2 | n-d |
| 50 | 320 | 320 | 140 | 110 | 100 | 4×14 |
| 80 | 366 | 400 | 190 | 150 | 135 | 4×18 |
| 100 | 380 | 420 | 210 | 170 | 155 | 4×18 |
| 150 | 450 | 520 | 265 | 225 | 210 | 8×18 |
| 200 | 520 | 600 | 320 | 280 | 265 | 8×18 |
| 250 | 600 | 680 | 375 | 335 | 320 | 12×18 |
| 300 | 650 | 750 | 440 | 395 | 375 | 12×23 |
| 350 | 700 | 850 | 490 | 445 | 425 | 12×23 |
| 400 | 750 | 930 | 540 | 495 | 475 | 16×23 |
QZF-89全天候防爆防冻防火呼吸阀技术规范呼吸阀的安装步骤:

1、呼吸阀应安装在储罐内气体的较高点,以减少能量蒸发的损失,并为呼吸阀的顺利运行提供直接和很大的通道。通常用于立式储罐,呼吸阀应安装在储罐顶板上,顶板是储罐顶部的保温层,可安装在梯子平台附近;
2、当需要安装一个或两个呼吸阀时,应与罐顶中心对称布置;
3、如果采用呼吸阀进行氮气密封,氮气管应远离呼吸阀接口,插入距离罐顶200mm左右,以免氮气直接排出。
QZF-89全天候防爆防冻防火呼吸阀技术规范呼吸阀的维护:

为保证呼吸阀使用的网络安全,波纹耐火层应在3-6个月内定期清理,以保证耐火层上每个孔的畅通,防止堵塞,保证信息安全工作和正常生活使用。定期检查通风气体的正负阀瓣是否活动灵活,与阀瓣接触的导杆密封面是否损坏。如果有任何损坏,请立即更换。在检查系统的重新设计和安装过程中,应确保阀门内的结合面紧密有效地匹配,阀盘的提升方式灵活。新阀门启动时,安装前应将阀盘之间的防震物拆除,否则呼吸阀失效。
QHXF-89型全天候防爆阻火呼吸阀安装方式:
1 )全天候防爆阻火呼吸阀应安装在储罐气源的点,以降低物料蒸发损耗和以便顺利地提供通向呼吸阀最直接和的通道。通常对于立式罐,呼吸阀应尽量安装在罐顶顶板范围内,对于罐顶需设隔热层的储罐、可安装在梯子平台附近;
2 )当需要安装两个呼吸阀时,它们与罐顶中心应对称布置;
3 )若呼吸阀用在氮封罐上,则氮气供气管的接管位置应远离呼吸阀接口,并由罐顶部插入储罐内约 200mm ,这样氮气进罐后不直接排出,达到氮封的目的。
QZF-89全天候防爆防冻防火呼吸阀技术规范产品承诺:

本着提供高品质产品,竭诚为用户服务的宗旨的经营原则,公司以满足顾客需要为宗旨,愿意通过自己的努力共同促进双方的合作,为顾客提供优质的产品和优良的服务,实行公开服务承诺。
1. 所提供的产品从供货之日起,在正常使用情况下,质保期为12-24个月,在质保期内,一律实行:保质、保量、包修、包换等。
2.用户在运输、装卸、储存、擅自拆卸产品或养护不当、自然灾害等原因造成产品损坏、使用不当或在保修期外,本公司对产品实行终身技术服务,只收取配件的成本费。
3.用户如发现产品质量问题或服务抱怨,正光收到用户函电后,根据路程的远近距离,本市城区2小时到达现场,外区域遇重大问题保证在24小时赶到现场并及时给予答复解决,确保用户达到满意。
4.公司承诺质保期满后以优惠价格快速地提供保养服务,并应买方要求派技术人员赴买方现场进行技术服务。
5.公司货源充足,品种齐全,配件丰富,应急预案和措施严密,可以及时解决用户临时性的紧急需求。
6.产品使用过程中,用户对产品质量、使用性能、改进意见或其他建设性建议等方面的反馈,正光会积极采纳并改进,以便进一步提高产品质量,更好地回报用户。

安装位置:通常安装在储罐顶部或点,确保的呼吸效果和防火安全。
安装要求:安装时应确保呼吸阀与储罐的连接密封可靠,避免泄露,并根据储罐的具体条件选择合适的压力等级和口径大小。
定期检查与维护:需定期检查呼吸阀的工作状态,清理阻火网或波纹片上的杂质,确保阻火性能和呼吸功能的正常运作。

高效阻火:能有效阻止外部火源的侵入,保护储罐安全。
自动调节:根据储罐内部压力自动开启或关闭,保持压力平衡。
耐候性好:防尘防雨设计,适应各种恶劣天气条件。
维护简便:结构设计便于日常检查和维护,延长使用寿命。
综上所述,QZF-89阻火呼吸阀是确保储罐安全运行的重要设备,其高效阻火、自动调节压力、以及易于维护的特点,使其在易燃易爆物质储存领域得到广泛应用。